15kV美式四联混合母排
- 产品->电力电缆附件->1-35kV可分离连接器及配套产品
- 1-35kV可分离连接器及配套产品
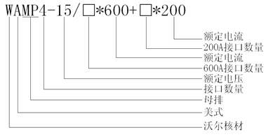
型号:WAMP4-15/□*600+□*200
电气性能
额定电压 | 15kV(8.3/14.4kV) |
额定电流 | 600A |
工频耐压(AC) | 26.1kV/5min |
局部放电 | 15kV,≤10pC |
注:该产品满足IEC 60502.4,IEEE-386及GB/T 12706.4要求 | |
产品尺寸

美式600A标准套管尺寸 美式200A标准套管尺寸
产品型号说明







